Klyfvarbom (Jib boom) [Kluverbaum] börjar mer och mer försvinna på moderna yachter. Redan då man för tjugu å femton år sedan började runda bort kriet och så mycket som möjligt minska allt dödträ för ut, kunde man äfven såsom följd häraf korta af klyfvarbommarna och minska förseglen. Och nu då de långa öfverhängena för ut blifvit moderna, går man ända därhän att man icke har någon klyfvarbom alls eller klyfvare heller, utan en stagfock ut till pynten af spetsnosen. Hvad man än må säga om denna reform — ett är säkert: att den minskat antalet af haverierna under kappsegling, ty minst tre fjärdedelar af dessa kommo i forna tider på de långa klyfvarbommarnas räkning. K.s bygel (j. traveller) [Wanderbugel, Ausholring] är en på k. vandrande ring för ut- och inhalning af klyfvaren på yachter. Ks gaj (j. b. guy) [K. b. geie]. K.s gast (j. man) [Kluvergasf]. K.s pert (j. b. footrope) [K. b. pferd] är det under k. hängande tåg, hvaremot manskapet stöda fotterna vid klyfvarens beslagning, lossgörande m. m. K.s stampstag (martingale stay) [K. b. stampstag oder K. b. domper]. Se bogspröt och fockmasten. K.s nät (j. b. netting) [K. b. netz\ är ett tågnät fästadt under k. mellan gajarna för att hindra klyfvarbomsgastarna att falla öfver bord.
Klyvarbom, en spira, som förlänger bogsprötet och antingen är av samma spira eller utgör en särskild längd, som ligger ovanpå bogsprötet ett stycke och sedan går genom ett eselhuvud på än dan av detsamma. ~ -sgajar eller klyvargajar, tåg eller stållinor, som stötta klyvarbommen sidovägen och medelst taljerep eller skruvar äro fastsatta i bogen på ömse sidor. ~ -snät, ett nät, spänt under klyvarbommen att fånga upp dem, som till äventyrs trilla ur perten på klyvarbommen. Användes aldrig på fartyg, där man har ont om folk, id est handelsfartyg. ~ spert, se pert
Klyvarbommen gjordes i ett stycke. På yttre nocken fanns en grov bögel, ett enklare eselhuvud för jagarbommen. Bommen hölls på plats av surrningar över inre nocken och stottninsgeen i bogsprötseselhuvudena samt av stoppkätting, som gick genom en kip i inre nocken och som med sina båda ändar med järnbultar var fast-gjord i eselhuvudet. Klyvarbommen togs vant. in vid avriggning.
Klyvarbommen stöttades nedåt med stampstag i sidled av gajar samt hölls på sin plats av stoppkätting och klyvarbomssurrning. Bommen försäkrades till bogsprötet med klyvarbomssurrningen (jib-boom lashing, Ccrupper chain), som bestod av en kättingssurrning lagd runt bogsprötet med sliphake och ansättningsskruv. I handelsfartyg användes i stället för surrning ofta en grov järnbögel, som höll inre bomnocken till bogsprötet. Pärter av hamptross med ett för båda gemensamt stolpöga påkrängdes så att stolpen kom på bommens underkant. De båda inre ändarna fastgjordes till eselhuvudet. Under bogsprötet och klyvarbommen fördes ofta, särskilt i örlogsfartyg, ett grovmaskigt nät (bow-sprit-netting), avsett dels som säkerhetsanordning för folk som hade uppgifter i bogsprötsriggen, dels för att hindra att klyvaren gick i sjön då den bärgades.
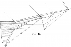
Bogspröt och klyvarbom. Där bogspröt finnes, vilar det på förstäven och stöttas sidovägen i träfartyg av kindbackarna. På dess yttersta ända finnes ett esselhuvud för klyvarbommens fasthållande. Denna, fig. 32, är vanligen byggd i två eller tre avsatser med humrar för klyvar- och jagartacklingen. Den inre avsatsen benämnes då klyvarbom och den yttre jagarbom. Numera är det vanligt att bogspröt och klyvarbom äro byggda i ett stycke, som då är betydligt kortare än den förut brukliga anordningen med fast bogspröt och löstagbar klyvarbom. Ännu vanligare är att i de jämförelsevis små nutida segelfartygen med hjälpmaskin bogspröt helt och hållet saknas, de äro sålunda riggade med enbart klyvarbom. Stampdäverten, som hänger under bommen i en ögonbult i esselhuvudet, är till för att sprida bomtacklingen.